Через дымоход на улицу выходит смесь газов с продуктами сгорания топлива из каминов, печей и отопительных котлов. Рассматривая частные дома, можно заметить, что оголовок трубы венчает специальный козырек или зонтик. С первого взгляда на эти приспособления, украшенные фигурной ковкой, затейливыми узорами и фигурками, складывается впечатление, что они всего лишь элемент декора. На самом деле колпак на дымоход является важным элементом системы дымоудаления, правильность конструкции и монтажа которого отражается на эффективности ее работы. Эта статья расскажет о принципах работы, видах и способах самостоятельного изготовления дефлекторов своими руками.
Конструкция
Колпак на дымоход – устройство, напоминающее по виду зонт или козырек, устанавливаемое на оголовок трубы с целью защиты от попадания влаги. Существует огромное множество вариаций внешнего облика флюгарок, в зависимости от формы и размера канала дымоудаления. Конструкция колпаков всех видов состоит из следующих элементов:


- Защитный зонтик. Навершие колпака в виде конуса, пирамиды, полукруга или других, более сложные форм. Зонт защищает трубу от попадания в нее атмосферных осадков, мусора, проникновения в дымоход птиц.
- Фартук-капельник. Этот элемент колпака защищает оголовок трубы от капель, отскакивающих от зонтика. Он помогает увеличить срок службы дымохода, предотвращает появление коррозии, грибка. Фартук применяют в случае, когда устанавливают колпак на трубу прямоугольной или квадратной формы.

Виды фартука-капельника - Кронштейны. Пластины из листового металла, которые используют, чтобы соединить козырек с фартуком. Количество кронштейнов зависит от размера дымохода и веса зонтика. Крепеж выполняют при помощи сварки.
Важно! Для дымохода можно сделать колпак своими руками из листового металла, однако, более сложные модели проще купить или заказать. Наиболее удобный в обслуживании и эксплуатации вид – защитный зонтик с открывающейся крышкой. Благодаря подвижности этого элемента, защитный козырек не снимают во время прочистки или осмотра дымохода.
Чтобы сделать долговечный колпак для трубы дымохода используют листовой металл, не подверженный коррозии. Распространено изготовление своими руками из оцинкованной стали, меди или алюминия. Зонт на оголовок из меди имеет благородный оттенок, он выглядит респектабельно, однако часто становится «жертвой» сборщиков цветного металла.
Разновидности
Изобилие форм и видов дымоходов вынуждают производителей выпускать колпаки разнообразных форм, стилей, размеров. В строительных магазинах встречаются изделия следующих видов:
- Стандартная флюгарка. Ее зонтик представляет собой пирамидку, изготовленную из листового металла, с помощью кронштейнов прикрепленную к фартуку-капельнику.
- Четырехскатная флюгарка. Навершие таких моделей напоминает вальмовую четырехскатную крышу. Как правило, их используют для прямоугольных труб из кирпича.
- Флюгарка с полукруглым зонтиком. Ее используют для монтажа на крышах домов в европейском стиле. С точки зрения увеличения тяги она имеет низкую эффективность, однако, красиво смотрится на скате.
- Плоская флюгарка. Ее оснащают плоским прямоугольным зонтиком, используют для зданий в стиле минимализм и модерн. Плоская крышка колпака не позволяет скатываться снегу, из-за чего кронштейны таких моделей испытывают повышенную нагрузку, иногда деформируются.
- Круглая флюгарка с зонтиком в виде конуса. Из применяют для защиты труб круглого сечения из нержавейки, такие модели не оснащают капельником.




Обратите внимание! Флюгарки снабжают дополнительными функциональными элементами: заслонками, двойными крышами, откидными дверками. Не стоит увлекаться вычурными деталями, ведь главное в выборе дефлектора – долговечность и эффективность. Непродуманная форма может стать причиной возникновения шумов или вибрации в трубе.
Принципы работы и функции
Колпак на дымоход не только защищает от попадания мусора и воды в канал дымоудаления, он влияет на силу тяги. Воздушный поток, двигающийся горизонтально или под углом, разделяется и уходит вниз, это вызывает «подсасывающий» эффект. Благодаря этому, создается зона с пониженным давлением, в которую устремляется дым из топки. Защитный дефлектор выполняет следующие функции:


- Предотвращает проникновение влаги внутрь дымоходной трубы. Сырость в дымоходе увеличивает расход топлива и создает благоприятные условия для распространения грибка.
- Закрывает отверстие трубы от попадания веток, листьев, мусора, а также гнездования птиц. Зонт снижает риск возникновения возгорания, засоров. Благодаря ему дымоход реже засоряется и эффективнее функционирует.
- Оптимизирует работу дымохода. Правильно подобранный козырек на 10-15% увеличивает КПД дымохода. А с помощью специальных аэродинамических дефлекторов с турбинами решают проблему отсутствия тяги.
Важно! Хотя защитный зонт дымохода считают элементом декора, в первую очередь это функциональный элемент дымоудаления. Правильно подобранный дефлектор не должен создавать шум или вибрацию внутри дымоходного канала.






Изготовление своими руками
Чтобы сделать козырек для дымохода своими руками, лучше выбрать модель попроще. Для работы потребуется листовая оцинкованная сталь, ножницы по металлу, гибы, маркер, картон, сварочный аппарат. Процесс выполняют в следующем порядке:
- Изготовление защитного колпака своими руками начинается со снятия мерок с дымохода. Для этого удобнее пользоваться металлической линейкой или мерной лентой. Измерения производятся точно, без спешки.
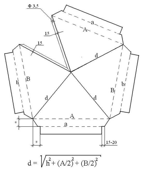
- Следующий этап – создание выкройки на картоне. Учтите, что зонт должен надеваться на дымоход легко, без усилия, поэтому к размерам трубы прибавляют зазор 4-5 мм.
Чертеж будущей флюгарки
- После окончательного утверждения, чертеж переносится на лист металла с помощью маркера. Используя ножницы по металлу, вырезают заготовку зонтика.
- Заготовку размещают на удобной поверхности разметкой вверх и листогиба сгибают линии, отмеченные в чертеже пунктиром, до угла 90 градусов. Затем сгибают линии, отмеченные буквой «d». В месте соединения следует сделать 3 отверстия с шагом 15-20 см и зафиксировать козырек клепками.

Развертка выкройки[block id=»13″]
- Выкройку фартука-капельника также переносят на лист металла и вырезают. Сгибы обрабатывают с помощью листогиба и соединяют детали клепками.

Выкройка фартука-капельника - Из металлических пластин делают кронштейны нужной длины и приваривают их к фартуку и зонтику. Места сварки обрабатывают грунтовкой по металлу.

Работа листогибом - На колпак наносят антикоррозийное покрытие и 1-2 слоя краски. Для полного высыхания требуется 1-2 дня. Затем его надевают на оголовок трубы.
Важно! Сделать колпак на дымоход своими руками проще всего, если изготовить из выгнутого дугой листа металла. При создании чертежа учитывайте, что в зимний период на кронштейны ложится вес снежной шапки, поэтому выбирайте металл достаточной толщины и прочности.
Самостоятельно изготавливая зонт для защиты дымохода от проникновения влаги, точно измеряйте размеры трубы. Правильно подобранная модель дефлектора улучшает внешний вид крыши и оптимизирует работу системы дымоудаления.
Видео-инструкция